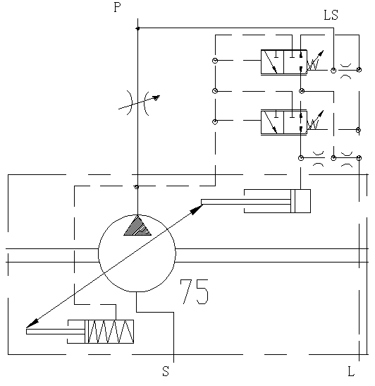
液压泵

工作特点:压力流量复合控制斜盘式轴向柱塞泵,流量与驱动转速及泵排量成正比,通过调节斜盘的位置可无级改变流量。

有两个调节泵排量的控制装置:
1、为泵的流量控制阀,使泵的排量始终和阀的需求相适应,避免了常规系统的高压溢流,减小了发热量,减少了系统的液压冲击。
2、为泵的压力控制阀,设定了泵的最高工作压力,当系统压力超过泵的压力控制阀设定压力时,泵的斜盘马上从工作状态摆回到几乎零摆角,使排量几乎为零,保证液压系统的安全节能;
常见故障及判断:
1、油泵发响,吸油不畅,检查吸油滤芯是否污染,吸油管路是否变形。
在发响的时候观察油箱上吸油滤油器指针。
2、压力过大或者转速过高,使用工况超出油泵的功率域。
在驾驶观察转速表,转速不能超过1600r/min。
上下车切换阀

常见故障及判断:
1、换向阀卡滞,导致油路无法切换到下车。拆洗换向阀或者更换。
2、反馈阀卡滞,导致系统无压力或者压力卸不掉。拆洗反馈阀或者更换。
3、动作时发出吱吱尖叫声。溢流阀调节不当。

XCMG 官方服务号
第一章 提示条款
【审慎阅读】徐工集团官网服务协议
尊敬的用户,欢迎您阅读徐工集团官网(以下简称“本平台”或“徐工集团官网”)服务协议(以下简称“本协议”)。请您务必自行谨慎阅读、并充分理解本协议以及平台所有声明、政策、规则等相关文件的全部内容,特别是以粗体/下划线标识的条款,可能会对您的相关权益造成重大影响,您应当更加谨慎阅读并充分理解这部分内容。除非您已阅读并接受本协议所有条款,否则您无权使用徐工集团官网相关服务。 如您对协议有任何疑问,可向平台客服咨询。
当您阅读并同意协议后,即表示您已充分阅读、理解并接受协议的全部内容。您在徐工集团官网注册并开展经营活动等行为,即视为您已阅读并同意受本协议以及平台所有规则、政策等相关文件的约束。
【特别提示】
本平台将依据本协议的规定为您提供服务,本协议具有合同效力。本协议内容包括协议正文,以及本平台发布的各项协议、声明、政策、规则(以下简称“平台相关文件”),平台相关文件作为本协议附件,是本协议不可分割的一部分,与本协议正文具有同等法律效力。您阅读本协议的同时,也应阅读上述平台已经发布的各类平台相关文件。
本公司根据经营情况或出于优化服务的需要,可能并有权对本协议以及本平台已经发布的各类协议、规则、政策、条款等相关文件进行修改、补充。届时,本公司会按照法定程序,至少提前于该修改和补充生效日前7日在本平台公布并公开征求意见。如您不同意相关修订或优化,将面临必须停止使用并退出本平台的法律后果;一旦您选择继续使用本平台,则表示已接受并自愿遵守经修订或优化后的条款。
第二章 定义
1.徐工集团官网:是指为平台用户提供数字孪生服务的互联网平台,包含数字字营销、数字化生产、数字化管控、数字孪生J3D设计器、三维模型资源库,以下简称“本平台”或“徐工集团官网”。
2.平台经营者:指经营徐工集团官网的法律主体,即山东捷瑞数字科技股份有限公司。
3.平台服务:指徐工集团官网基于互联网,通过徐工集团官网网站等渠道向您提供数字孪生相关服务。
4.平台规则:包括在所有徐工集团官网内已经发布及后续发布的全部协议、规则、政策、公告等内容。
5.平台用户:指在徐工集团官网合法注册,接受并认可平台规则的自然人、法人或非法人组织,简称“用户”。本平台用户,是指注册的本平台用户和已经注销本平台资料但尚未满1年的用户。
6.需求方:指在徐工集团官网上发布三维模型需求的用户。
7.平台相关文件:是指徐工集团官网发布的各项协议、声明、政策、规则等文件。
第三章 签约主体
第一条 签约主体
本协议由您(即徐工集团官网用户)与徐工集团官网经营者共同缔结,对您和平台经营者均具有合同效力。平台经营者,是指经营徐工集团官网的法律主体,您可随时查看平台各网站首页底部公示的信息以确定与您履约的主体。
第二条 签约主体的变更
本协议项下,徐工集团官网经营者可能根据平台的业务调整而发生变更,变更后的平台经营者与您共同履行本协议并向您提供服务,平台经营者的变更不会影响您本协议项下的权益。
第四章 账号注册、使用与注销
第三条 用户资格
本平台的服务仅向在缔约时具有相应的民事行为能力的自然人、法人和其他组织提供并由其使用,包括:
1.年满十八周岁,具有民事权利能力和民事行为能力的自然人;
2.根据中国法律法规成立并合法存续的机关、企事业单位、社团组织和其他组织。
本平台禁止无民事行为能力或限制行为能力的个人,以及因违反平台规则被本平台经营者暂时或无限期终止提供服务的用户注册。若您不符合本协议规定的用户资格,请您切勿使用本平台的服务。
第四条 账号注册
1.您在本平台注册的账户名称不得违反相关法律规定。
2.您应当向本平台提供真实准确的注册信息,包括但不限于真实姓名、身份证号、联系电话、地址、邮政编码等,保证本平台可以通过上述联系方式进行联系。同时,您应当在相关资料实际变更时及时更新有关注册资料。
第五条 账号使用
1.账号和密码仅限于您本人使用,不得向任何第三方转让或出售。通过账号和密码进行的一切操作均代表您本人,您对使用该账号和密码所进行的操作承担全部法律责任。
2.您有权根据需要更改账号和密码,账号和密码由您自行妥善保管。本平台会竭尽全力利用现有先进技术保护您的个人信息和数据,账户因您自身原因泄露或因您遭受他人攻击(含您使用的计算机被他人侵入)、诈骗等行为导致的损失及后果,平台并不承担责任,您应通过司法、行政等救济途径向侵权行为人追偿。
如发现任何未经授权使用您账户登录本平台或其他可能导致您账户遭窃、遗失的情况,建议您立即通知本平台,并授权本平台进行处理。您理解本平台对您的任何请求采取行动均需要合理时间,且应您请求而采取的行动可能无法避免或阻止侵害后果的形成或扩大,除存在法定过错外,本平台将不承担责任。
3.如您发现有第三人冒用或盗用账号和密码,或其他任何未经合法授权使用的情形,应立即以有效方式通知本平台暂停相关服务,否则由此产生的一切损失均由您本人承担。
第六条 账号注销
您可以登录注销申请页自助发起注销申请 ,平台审核通过后为您注销账户。 如您注销账号,请按照平台相关规定妥善处理资金、发票及尚未了结的交易等事宜。您注销后,本平台有权根据需要,对您在平台的所有信息进行数据清洗,本平台不承担任何责任。
第四章 平台服务
第七条 本平台提供如下服务:
第八条 服务费用
1.本平台未向您明示收费的项目,您在遵守本平台各项规则的前提下可免费、合理、合法地使用;明示收费的业务项目,您则应遵循诚实信用原则,按照相关条款如约履行。如您未按约履行付款义务,则会面临承担逾期付款利息、违约金、赔偿金等法律风险。
2.因国际局势、国家政策、宏观调控、经济环境等因素的变化,本平台向您提供的服务或收费规则可能会随之发生变动。届时,本平台会采取合理途径和方式、以足够合理的期限通知您,确保您有充分选择的权利。您若继续使用本平台即视为同意该变更。
3.您使用本平台所提供服务过程中的其他支出,包括但不限于网络使用费、通信费、资料快递费、流量费等,由您自行承担。
4.您因使用本平台所提供服务而取得的收入,应当由您依法自行承担相应的税费,依法纳税。
第六章 权利义务
第九条 用户的权利和义务
1. 您有权根据本协议以及发布的平台相关文件,利用本平台发布三维模型信息、查询本人账户信息、参加本平台的活动及享受本平台提供的其他服务。
2.您应确保在本平台上发布的信息真实、合法、无误导性。
3.您在使用本平台服务过程中应当遵守诚实信用原则,不得违反国家法律、法规、行政规章的规定,不得侵犯他人知识产权或其他合法权益,不得违背社会公共利益或社会道德,不得违反本平台的相关规定。如有违反导致任何法律后果,由您自行承担相应的法律责任。
4.您在使用本平台服务过程中不得违反银行相关规定使用银行卡,或利用信用卡套取现金,不得盗刷他人银行卡,不得明知或应知他人可能盗刷银行卡而与其进行交易。您如发现其他用户在本平台有违法或违反本协议的行为,可以向本平台举报。
5.您同意接收来自本平台的信息,包括但不限于通过邮件、短信、微信等形式发送的活动信息、交易信息、促销信息等。
6.未经本平台书面允许,您不得将本平台的任何资料以及在本平台上所展示的任何信息作商业性利用(包括但不限于以复制、修改、翻译等形式制作衍生作品、分发或公开展示)。
7.您在使用本平台服务过程中不得以干预或操纵发布任务等不正当竞争方式扰乱市场秩序,不应采取不正当手段恶意评价其他用户,降低其他用户信用度。
8.您应当自行承担因使用本平台所产生的相关费用,并依法纳税。
9.“J3D设计器”为徐工集团官网自主开发的拥有自主知识产权的产品,您可使用徐工集团官网自带“模型资源库”,也可将自有模型资源上传至徐工集团官网进行编辑使用或允许第三方使用。您自行上传至“伏锂码云”平台的三维模型,应保证拥有合法知识产权,不存在侵犯第三方知识产权的情形,否则,相关责任由您本人承担。
第十条 平台的权利和义务
1.本平台是为注册用户提供数字孪生相关服务的平台,对于您通过本平台与第三方发生的相关交易,本平台不提供任何形式上或实质上的担保和保证义务。
2.徐工集团官网是在现有技术基础上提供的服务,有义务尽力保障平台数据安全、避免服务中断或将中断时间限制在最短时间内,保证您在本平台活动的顺利进行。
3.本平台有义务对您在注册使用本平台信息中所遇到的与注册或使用本平台有关的问题及反映的情况及时作出回复。
4.本平台有权对您的注册资料进行审查,有权发出通知询问您并要求您做出解释、改正。
5.因网络信息平台的特殊性,本平台不承担对您在本平台一切行为以及与之有关的其他事项进行事先审查的义务。但如发生以下情形,本平台有权无需征得您的同意,限制您在本平台上的经营活动,向您核实有关资料,发出警告通知,暂时中止或无限期终止向您提供服务:
5.1您违反本协议约定以及平台相关文件的规定;
5.2其他用户或其他第三方通知本平台,认为您存在违法违规的不当行为,并提供了初步相关证据,而本平台无法联系到您核实情况或无法验证您向本平台提供的资料;
5.3其他用户或其他第三方通知本平台,认为您存在违法违规的不当行为,并提供了初步相关证据,本平台以普通人的认知对相关内容进行判别,能够明显认为这些内容或行为可能对本平台或平台用户造成损失或需承担相应法律责任;
5.4根据国家法律、法规、行政规章规定、本协议的内容或本平台所掌握的其他依据,明显可以认定您存在违法、违约以及其他不当行为,本平台有权无需征得您的同意在本平台上公布您的违法、违约行为,并有权随时作出删除您的相关信息、终止向您提供服务等限制性措施。
5.5当您利用本平台从事涉嫌违法的行为时,平台有权利和义务对您的账户进行关闭,并不排斥禁止您访问平台和登录账户。
6.有下列情形之一,本平台有权在无需通知您的前提下,删除您的信息或采取其他限制性措施:
6.1提供虚假注册文件或存在欺诈行为;
6.2扰乱正常市场秩序的行为或存在其他不正当竞争行为;
6.3 有损害国家利益、社会公共利益或他人合法权益,损害本平台或其他用户合法权益的其他行为。
7.您因使用本平台服务与其他用户产生纠纷,将纠纷告知本平台请求调处的,经审核后,本平台有权通过电子邮件及电话联系向纠纷双方了解纠纷情况,并将所了解的情况通过电子邮件互相通知对方;如双方同意,本平台可提供纠纷调处服务。
第五章 用户信息
第十一条 用户信息范围
用户信息包括:您在注册、登录等使用本平台服务过程中,在任何公共信息区域(包括留言栏或反馈区)或通过任何电邮或手机短信等方式,向本平台或其他用户提供的任何信息资料。您对您本人提供的信息资料真实性、合法性担负法律责任,本平台仅作为您在网上公布或传播上述资料的渠道。
第十二条 用户信息资料提交、授权收集和使用
1.您提供的资料不得具有如下情形:
1.1具有欺诈性、虚假、不准确或具误导性;
1.2侵犯任何第三方著作权、专利权、商标权、商业秘密或其他专有权利或发表权或隐私权;
1.3违反任何的法律法规,有侮辱或者诽谤他人,侵害他人合法权益的内容;
1.4有淫秽、色情、赌博、暴力、凶杀、恐怖或者教唆犯罪的内容;
1.5包含可能破坏、改变、删除、不利影响、秘密截取、未经授权而接触或征用任何系统、数据或个人资料的任何病毒、木马、或伤害本平台及平台其他用户的恶意程序。
如您的资料具有上述情形之一的,本平台有权暂停或终止对您提供相关服务,由此导致的损失(包括直接和间接的)均由您本人承担。
2.为了使本平台能够使用您提交的资料为您提供服务,并且使本平台不违反您可能在该资料中拥有的任何权利之目的,您同意授权本平台收集和非独占、免使用费、合理正当地使用您的资料,本平台承诺严格依法保护您的个人信息。
3.您有义务维持并更新在本平台的基本资料,因您未及时更新相关资料导致本平台无法向您提供服务或提供服务时发生任何错误的,本平台不承担任何责任。
4.如您通过签署有关协议等方式获得其他用户的个人资料,您同意并承诺不将该个人资料用于除追索债权以外的其他任何用途,除非该信息根据法律法规规定被政府部门或司法部门要求披露。
有关用户信息的收集、使用规则、使用范围、信息保护等约束,请您认真详细阅读本协议附件《隐私保护政策》。
第八章 责任限制和免除
第十三条徐工集团官网依照法律规定履行基础保障义务,但对于下述原因导致的合同履行障碍、履行瑕疵、履行延后或履行内容变更等情形,徐工集团官网并不承担违约责任:
1.因自然灾害、罢工、暴乱、战争、政府行为、司法行政命令等不可抗力及不可预见的情势(包括但不限于:黑客攻击、电信部门技术调整导致重大影响、政府管制导致的暂时关闭、病毒侵袭等);
2.因电力供应故障、通讯网络故障、上层服务器故障等因素或第三人因素;
3.在本平台已尽善意管理的情况下,因紧急的设备或系统维护、设备或系统故障、网络信息等因素。
第十四条就任何第三方提出的,由于您违反任何法律或侵犯第三方的权利而引起的任何索赔、要求、诉讼、损害赔偿(包括直接或间接损失),无论是已知或未知的,本平台对此不承担任何责任。
第十五条在任何情况下,对于您使用本平台服务过程中涉及由第三方提供相关服务的责任,由该第三方承担,本平台不承担该等责任。
第十六条 您应了解并同意如下关键事项:
1.徐工集团官网不能随时预见到任何技术上的问题或其他困难,该等困难可能会导致数据损失或其他服务中断。徐工集团官网是在现有技术基础上提供的服务,尽力避免服务中断或将中断时间限制在最短时间内,保证您在本平台活动的顺利进行。但本平台不保证以下事项:
1.1本平台将符合您的所有要求;
1.2本平台不受干扰、能够及时提供、安全可靠或免于出错;
1.3对第三方向您提供的服务提供任何形式的承诺或保证。
2.您和本平台是独立的合同主体,本协议无意建立也没有创立任何代理、合伙、合营、劳务、劳动或特许经营关系,上述性质不因任何事由而改变。
3.因在本平台下载任何资料而导致您电脑系统的任何损坏或资料流失,您应负完全责任。希望您在使用平台时,小心谨慎并运用常识。
4.基于以下原因而造成的利润、商誉、资料损失或其它无形损失,本平台不承担任何直接、间接、附带、特别、衍生性或惩罚性赔偿:
4.1您存取或变更的资料未获本平台授权;
4.2因您将密码告知他人导致的您财产损失;
4.3因您个人故意或重大过失,或本平台之外的第三方所造成的您财产损失;
4.4其他非本平台原因导致损失。
4.本平台将通过依法建立相关检查监控制度,尽可能保障您在本平台上的合法权益及良好体验。但本平台无法逐一审查商品或服务的信息,无法逐一审查所涉及的商品或服务的质量、安全以及合法性、真实性、准确性,对此您应谨慎判断。
第六章 保密责任
第十七条 保密责任
1.您同意严格遵守本平台的保密制度,防止泄露本平台保密信息。否则,本平台有权按相关规定进行处罚;因违反本保密制度,给平台造成损失的,应赔偿全部直接及间接经济损失(包括但不限于因维护权益所产生的诉讼费、保全费、公证费、律师代理费等相关合理开支)。
2.您同意严格遵守本平台保密制度,防止泄露本平台其他用户的保密信息。否则,您将对给平台其他用户所造成损失承担全部法律责任;若平台其他用户直接向本平台行使权力的,在本平台履行赔偿责任后,则有权向您追偿,因行使追偿权所产生的包括但不限于诉讼费、保全费、公证费、律师代理费等相关合理开支,由您全部承担。
3.您对第三方负有商业秘密保密义务的,应向本平台书面声明,不得有任何隐瞒。您若违反对第三方的保密义务,或通过非正当途径获得第三方秘密并披露的,对第三方承担全部赔偿责任;您若未经同意擅自在本平台使用第三方秘密,致使本平台和第三方遭受的经济损,由您依照本条规定承担全部赔偿责任。
4.您同意严格遵守保密信息,保护的程度不低于保护自己的保密信息。
第十一章 违约的处理
第十八条如发生以下情形,本平台可能并有权限制您的平台活动权限、立即删除您的需求,并在平台上发出有关您行为的警告通知;暂时或永久中止、无限期地中止或终止您的用户资格以及拒绝向您提供服务:
1.您违反本协议以及作为本协议附件的各项协议、声明、政策、规则;
2.本平台无法核验您向本平台提供的资料;
3.本平台有合理怀疑您的行为可能对本平台或平台其他用户造成损失或其他法律责任。
第十九条 您同意保障和维护本平台及其他用户的利益,如因您违反有关法律、法规或本平台协议规则下的任何条款,而给本平台或任何其他第三人造成损失,对此您同意承担全部相关损害赔偿责任。
第二十条本协议以及平台相关文件就某一项违约行为的处理方式有特别约定的,按该约定执行。
第十二章 争议的解决
第二十一条 管辖权
1.您在本平台服务过程中产生纠纷,可以请求本平台从中予以协调处理。
1.1一旦您或其他用户或第三方提交本平台请求调处纷争,则本平台有权根据行业认知以及专家意见对案件进行判断和调解。
1. 2本平台处理纠纷完全基于您或其他用户的委托,秉持公平、公正、透明的原则调解纠纷。本平台并非司法机关或行政机构,不保证调解方案和处理结果符合您的期望,亦不对该处理结果承担任何责任。如果您对本平台的调解处理结果不满意,仍然可以选择通过法律途径解决纷争。
2.您在使用本平台服务过程中,若您与本平台产生纠纷,应首先选择友好协商解决;如协商不成,均有权提交本平台经营者所在地有管辖权的法院诉讼解决。
第二十二条 法律适用
本协议以及平台相关件的全部条款的订立、生效、解释、修改、补充、终止、执行与争议解决均适用中华人民共和国大陆地区法律;如法律无相关规定的,参照商业惯例及行业惯例。
第十三章 协议的修改、补充和终止
第二十三条 协议的修改、补充
1.您充分理解:本平台无法与所有的用户就本协议及本协议所纳入或被提及的文件、条款进行逐一的协商。
2.您无任何附加条件的认可:本协议以及平台相关文件可以由本平台自行做出修改或补充,且至少提前于该修改和补充生效日前7日在本平台公布并公开征求意见。
3.若您对于该修改和补充不予接受的,您应当立即停止使用本平台的服务,而本平台也有权终止您在本平台的用户资格。一旦您继续使用本服务,则表示您已接受并自愿遵守经修改和补充后的条款。
第二十四条 协议的终止
1.本协议自您注销账户的申请被本平台审核通过之日,终止本协议;或本平台依据本协议以及平台相关文件终止您的用户资格之日终止。本协议的终止不影响您与平台需求方用户已经达成的项目合同的履行。
2.出现以下情况时,本平台可依据本协议及平台相关文件以第十四章所列的方式通知您终止本协议:
2.1您违反本协议约定,本平台依据违约条款终止本协议的;
2.2您盗用他人账户、发布违禁信息、骗取他人财物、售假、扰乱市场秩序、采取不正当手段谋利等行为,本平台依据平台规则对您的账户予以冻结的;
2.3本平台发现您的注册资料是虚假的,有权随时终止本协议;
2.4除上述情形外,因您多次违反本平台规则相关规定且情节严重,本平台依据平台规则对您的账户予以冻结的;
2.5您在本平台有欺诈、侵犯他人合法权益或其他严重违法违约行为的;
2.6其它应当终止服务的情况。
3.本协议终止后,本平台仍享有下列权利:
3.1继续保存您留存于本平台的各类信息,直至在平台与您相关的任何纠纷均已处理完毕;
3.2对于您过往的违约行为,本平台仍可依据本协议以及平台相关文件向您追究违约责任。
第十四章 协议的组成
第二十五条本协议由协议正文,以及本平台发布的各项协议、声明、政策、规则等平台相关文件组成,相关名词、定义可互相引用参照。您对本协议的理解和认同,即对本协议所有组成部分的内容理解并认同,您和本平台即受本协议所有组成部分的约束。
第十五章 通知
第二十六条除非另行明示载明,任何通知将发往您在注册过程中向本平台提供的联系方式和地址,或本公司查明的最易查收的其他方式和地址。
第二十七条任何通知应视为于以下时间送达:
1.如通过电邮发送,则电邮发送后 24个小时。但发送方被告知电邮地址无效的,则属例外;
2.如以预付邮资的信件发送,则投邮之日后三个自然日;
3.如以挂号信发送,则在投邮后第七个自然日;
4.如通过传真发送,则传真发出的当日。
5.以上方式均无法送达时,将公告送达,公告时间45个自然日,期限届满视为送达。
第十六章 其他
第二十八条您同意,平台经营者在发生合并、分立等经营主体发生变更时,本协议以及平台相关文件项下的所有或者部分权利义务,可由本平台自行决定处置。
第二十九条协议或平台相关文件之标题仅为参考之用,在任何方面均不界定、限制、解释或描述该条的范围或限度。